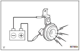
INSPECTION
1. INSPECT SECURITY HORN ASSEMBLY

Standard

If the result is not a
Engine hood courtesy
switchOn-vehicle inspection
1. INSPECT BRAKE PEDAL HEIGHT
(a) Check the brake pedal height.
Pedal height from dash panel:
150.3 to 160.3 mm (5.917 to 6.311 in.)
NOTICE:
Do not adjust the pedal height. Doing so by
changing the push rod length will structurally
change the pedal ratio.
2. CHECK AND ADJUST STOP LIGHT S ...
Installation
1. Install thermostat
(a) Install a new gasket to the thermostat.
(b) Install the thermostat with the jiggle valve facing up.
Hint:
the jiggle valve may be set within 10° on either side
of the prescribed position.
2. INSTALL WATER INLET
(a) Install the water inlet with the 2 nuts . ...
Mass or Volume Air Flow Circuit/ Mass or Volume Air Flow Circuit Low Input/
Mass or Volume Air Flow Circuit High Input
DESCRIPTION
The Mass Air Flow (MAF) meter is a sensor that measures the amount of air
flowing through the throttle
valve. The ECM uses this information to determine the fuel injection time and to
provide appropriate airfuel
ratio. Inside the MAF meter, there is a heated platinum wire which is ...