1. INSTALL SLIDE DOOR ROLLER ASSEMBLY UPPER

Torque: 13 N*m (130 kgf*cm, 10 ft.*lbf)
2. INSTALL SLIDE DOOR HINGE ASSEMBLY CENTER LH

Torque: 31 N*m (316 kgf*cm, 23 ft.*lbf)
3. INSTALL SLIDE DOOR ROLLER ASSEMBLY LOWER LH

Torque: 31 N*m (316 kgf*cm, 23 ft.*lbf)
4. INSTALL SLIDE DOOR FULL OPEN STOP LOCK ASSEMBLY LH

Torque: 8.0 N*m (82 kgf*cm, 71 in.*lbf)
5. INSTALL SLIDE DOOR RAILS
Torque: 26 N*m (265 kgf*cm, 19 ft.*lbf)
Torque: 19.5 N*m (200 kgf*cm, 14 ft.*lbf)
Torque: 10 N*m (102 kgf*cm, 8 ft.*lbf)
6. INSTALL SLIDE DOOR




Torque: 7.0 N*m (71 kgf*cm, 62 in.*lbf)

Torque: 7.0 N*m (71 kgf*cm, 62 in.*lbf)


Torque: 7.0 N*m (71 kgf*cm, 62 in.*lbf)
7. REPLACE SLIDE DOOR HALF OPEN STOPPER SUBASSEMBLY

Torque: 7.0 N*m (71 kgf*cm, 62 in.*lbf)

Torque: 7.0 N*m (71 kgf*cm, 62 in.*lbf)
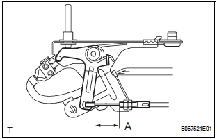
8. REPLACE SLIDE DOOR HALF OPEN STOPPER CONTROL ASSEMBLY

Dimension (A): 3.9 +- 1.5 mm (0.154 +- 0.059 in.)

Torque: 7.0 N*m (71 kgf*cm, 62 in.*lbf)
9. REPLACE SLIDE DOOR OPEN STRIKER LH

Torque: 7.0 N*m (71 kgf*cm, 62 in.*lbf)
10. REPLACE SLIDE DOOR OPEN STRIKER RH
HINT: Use the same procedures for the LH side.
11. REPLACE SLIDE DOOR OPEN STOP LH

Torque: 7.0 N*m (71 kgf*cm, 62 in.*lbf)
12. REPLACE SLIDE DOOR OPEN STOP RH
HINT: Use the same procedures for the LH side.
Reassembly
Slide door lock release motorRear Air Outlet Damper Control Servo Motor Circuit
DESCRIPTION
This circuit turns the servo motor and changes each damper position by
receiving the signals from the A/
C amplifier.
The rear air outlet damper servo motor switches the air outlet mode by rotating
(normal, reverse) with
electrical power from the A/C amplifier.
WIRING DIAGRAM
...
Removal
1. REMOVE FRONT WHEEL
2. REMOVE REAR WHEEL
3. REMOVE TIRE PRESSURE WARNING VALVE AND TRANSMITTER
(a) Remove the valve core and cap, and release the air
from the tire.
(b) After ensuring that a sufficient amount of air has
been released, remove the nut and washer that are
used to secure ...
Evaporative Emission Control System Incorrect Purge Flow
DTC SUMMARY
DESCRIPTION
The circuit description can be found in the EVAP (Evaporative Emission)
System (See page ES-409).
INSPECTION PROCEDURE
Refer to the EVAP System (See page ES-412).
MONITOR DESCRIPTION
The two monitors, Key-Off and Purge Flow, are used to detect malfunctions
relat ...