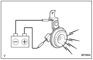
INSPECTION
1. INSPECT SECURITY HORN ASSEMBLY

Standard

If the result is not a
Engine hood courtesy
switchShort to GND in Rear Curtain Shield Squib LH
Circuit
DTC B1637/85 Short to GND in Rear Curtain Shield Squib LH
Circuit
DESCRIPTION
The rear curtain shield squib LH circuit consists of the center airbag sensor
assembly and the curtain
shield airbag assembly LH.
The circuit instructs the SRS to deploy when deployment conditions are met.
DTC ...
Charge Warning Light Comes ON while Driving
INSPECTION PROCEDURE
1 CHECK LOCK FUNCTION OF CLUTCH PULLEY
(a) Check the lock function with the pulley installed in the
vehicle.
(1) Visually check that the rotor in the generator
operates with the engine started.
(b) Check the lock function with the pulley removed from the
vehicle.
( ...
Torque converter clutch and drive plate
Inspection
1. Inspect torque converter clutch assembly
(a) Inspect the one-way clutch.
(1) Set SST into the inner race of the one-way
clutch.
SST 09350-32014 (09351-32010)
(2) Install SST so that it fits in the notch of the
converter hub and outer race of the one-way
clutch.
SST 0 ...