On-vehicle inspection

1. Cooling fan relay
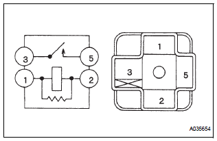
(a) Remove the relay from engine room relay block No.
1.
(b) Measure the resistance of the relay.
Standard resistance

If the result is not as specified, replace the cooling fan relay.
(c) Install the relay to engine room relay block No. 1.
Cooling fan ecu
RadiatorConfirmation of transmitter id registration
(a) Make sure that the ignition switch is off.
(b) Connect the intelligent tester to DLC3.
(c) Turn the ignition switch to the ON position.
(d) Select "TIREPRESS" by following the prompts
displayed on the intelligent tester.
(e) Confirm that the data of tire pressure of all ti ...
Open or Short Circuit in ABS Solenoid Relay Circuit
DESCRIPTION
The ABS solenoid relay is built in the brake actuator assembly. This relay
supplies power to each ABS
solenoid. If the initial check is OK, after the ignition switch is turned to the
ON position, the relay goes on.
WIRING DIAGRAM
Refer to DTCs C0226/21, C0236/22, C0246/23 ...
Installation
1. INSTALL STABILIZER BAR FRONT
2. INSTALL FRONT STABILIZER BAR BUSH NO.1
(a) Install the front stabilizer bar bush No. 1.
HINT:
Install the bushing to the outer side of the bushing
stopper on the stabilizer bar as shown in the
illustration.
4. INSTALL RACK & PINION POWER STEERING GEA ...