DESCRIPTION
When the ignition switch is turned to the ON position, battery positive voltage is applied to terminal IG of the ECU. When battery positive voltage is applied to terminal IG of the ECU while the theft deterrent system is operating, the warning stops.
WIRING DIAGRAM

INSPECTION PROCEDURE
1 INSPECT FUSES (ECU-IG, AM1)
Standard resistance: Below 1 Ω
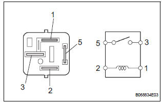
2 INSPECT RELAY (IG1)

Standard resistance

3 INSPECT IGNITION OR STARTER SWITCH ASSEMBLY

Standard resistance

4 CHECK INSTRUMENT PANEL JUNCTION BLOCK ASSEMBLY (POWER SOURCE)

Standard voltage

REPLACE INSTRUMENT PANEL J/B ASSEMBLY
Security Horn Circuit
Security Indicator Light CircuitShort to B+ in Front Passenger Side Squib 2nd
Step Circuit
DTC B1188/56 Short to B+ in Front Passenger Side Squib 2nd
Step Circuit
DESCRIPTION
The front passenger side squib 2nd step circuit consists of the center airbag
sensor assembly and the
front passenger airbag assembly.
The circuit instructs the SRS to deploy when deployment conditions are m ...
Capacity and distribution
Cargo capacity depends on the total weight of the occupants.
(Cargo capacity) = (Total load capacity) - (Total weight of occupants)
Steps for Determining Correct Load Limit
Locate the statement “The combined weight of occupants and
cargo should never exceed XXX kg or XXX lbs.” on your ...
Safety Connect LED light Indicators
When the engine switch is turned to the “ON” position (vehicles without
a smart key system) or IGNITION ON mode (vehicles with a smart
key system), the red indicator light comes on for 2 seconds then turns
off. Afterward, the green indicator light comes on, indicating that the
service is act ...