Toyota Sienna Service Manual: Precaution
CAUTION:
- The vehicle is equipped with a Supplemental Restraint
System (SRS). It consists of a driver airbag, front
passenger airbag, front seat side airbag, curtain shield
airbag, and front seat belt pretensioner. Failure to
carry out service operations in the correct sequence
could cause the SRS to unexpectedly deploy during
servicing, possibly leading to a serious accident.
Further, if a mistake is made in servicing the SRS, it is
possible that the SRS may fail to operate when
required. Before performing servicing (including
removal or installation of parts, inspection or
replacement), be sure to read the following items
carefully, then follow the correct procedures indicated
in the repair manual.
- Wait at least 90 seconds after the ignition switch is
turned to the "LOCK" position and the negative (-)
terminal cable is disconnected from the battery before
starting the operation.
(The SRS is equipped with a backup power source, so
that if work is started within 90 seconds after
disconnecting the negative (-) terminal cable of the
battery, the SRS may be deployed).
- Do not expose the steering pad, front passenger
airbag assembly, center airbag sensor assembly, front
airbag sensor, front seat inner belt assembly, seat
position sensor, occupant classification ECU, front
seat side airbag assembly, side airbag sensor, curtain
shield airbag assembly, rear airbag sensor, or front
seat outer belt assembly directly to hot air or flames.
NOTICE:
- Malfunction symptoms of the SRS are difficult to
confirm, so DTCs are the most important source of
information when troubleshooting. When
troubleshooting the SRS, always inspect DTCs before
disconnecting the battery.
- Even in the case of a minor collision when the SRS
does not deploy, the steering pad, front passenger
airbag assembly, center airbag sensor assembly, front
airbag sensor, front seat inner belt assembly, seat
position sensor, occupant classification ECU, front
seat side airbag assembly, side airbag sensor, curtain
shield airbag assembly, rear airbag sensor, and front
seat outer belt assembly should be inspected.
- Before repair work, remove the airbag sensor if any
kind of shock is likely to occur to the airbag sensor
during the repair.
- Never use SRS parts from another vehicle. When
replacing parts, replace them with new ones.
- Never disassemble or repair any of the following parts
in order to reuse them. If any of these parts have been
dropped, or a defect is found (e.g. cracks, dents or any
other defects) in any of the housings, brackets or
connectors, then replace the part with a new one.
- Steering Pad
- Front Passenger Airbag Assembly
- Front Seat Side Airbag Assembly
- Curtain Shield Airbag Assembly
- Center Airbag Sensor Assembly
- Front Airbag Sensor
- Front Seat Inner Belt Assembly
- Seat Position Sensor
- Occupant Classification ECU
- Side Airbag Sensor
- Rear Airbag Sensor
- Front Seat Outer Belt Assembly
HINT:
In the airbag system, the center airbag sensor assembly, front
airbag sensors LH and RH, side airbag sensors LH and RH,
rear airbag sensors LH and RH are collectively referred to as
the airbag sensors.
1. HANDLING PRECAUTIONS FOR AIRBAG SENSORS
- Before starting the following operations, wait for at
least 90 seconds after disconnecting the negative (-
) terminal cable from the battery:
- Replacement of the airbag sensors
- Adjustment of the front/rear doors of a vehicle
equipped with a front seat side airbag and
curtain shield airbag (fitting adjustment).
- When connecting or disconnecting the airbag
sensor connectors, ensure that each sensor is
installed in the vehicle.
- Do not use the airbag sensors which have been
dropped during the operation or transportation.
- Do not disassemble the airbag sensors.
2. INSPECTION PROCEDURE FOR VEHICLE INVOLVED
IN ACCIDENT
- When the airbag has not deployed, confirm the
DTCs by checking the SRS warning light. If there is
any malfunction in the SRS airbag system, perform
troubleshooting.
- When any of the airbags have deployed, replace the
airbag sensors and check the installation condition.
3. SRS CONNECTORS
- SRS connectors are located as shown in the
following illustration.


*1: Manual Seat

- All connectors in the SRS, except the seat position
airbag sensor connector, are colored yellow to
distinguish them from other connectors. These
connectors have special functions, and are specially
designed for the SRS. All SRS connectors use
durable gold-plated terminals, and are placed in the
locations shown on the previous page to ensure
high reliability.
- Terminal twin-lock mechanism:
All connectors with a terminal twin-lock
mechanism have a two-piece component
consisting of a housing and a spacer. This
design enables the terminal to be locked
securely by two locking devices (the retainer and
the lance) to prevent terminals from coming out.
- Activation prevention mechanism:
All connectors with an activation prevention
mechanism contain a short spring plate. When
these connectors are disconnected, the short
spring plate creates a short circuit by
automatically connecting the positive (+) and
negative (-) terminals of the squib.


- Electrical connection check mechanism:
This mechanism electrically checks that the
connectors are connected correctly and
completely. The electrical connection check
mechanism is designed so that the
disconnection detection pin connects with the
diagnosis terminals when the connector housing
lock is locked.

- Half connection prevention mechanism:
If the connector is not completely connected, the
connector is disconnected due to the spring
operation so that no continuity exists.

- Connector lock mechanism:
Locking the connector lock button connects the
connector securely.

4. DISCONNECTION OF CONNECTORS FOR STEERING PAD, CURTAIN SHIELD AIRBAG
ASSEMBLY, AND FRONT SEAT OUTER BELT ASSEMBLY
HINT:
Tape up the screwdriver tip before use.
- Release the lock button (yellow part) of the
connector using a screwdriver.
- Insert the screwdriver tip between the connector
and the base, and then raise the connector.

5. CONNECTION OF CONNECTORS FOR STEERING PAD, CURTAIN SHIELD AIRBAG
ASSEMBLY, AND FRONT SEAT OUTER BELT ASSEMBLY
- Connect the connector.
- Push down securely on the lock button (yellow part)
of the connector. (When locking, a click sound can
be heard.)

6. DISCONNECTION OF CONNECTOR FOR FRONT PASSENGER AIRBAG ASSEMBLY
- Place a finger on the slider, slide the slider to
release the lock, and then disconnect the connector.

7. CONNECTION OF CONNECTOR FOR FRONT PASSENGER AIRBAG ASSEMBLY
- Connect the connector as shown in the illustration.
(When locking, make sure that the slider returns to
its original position and a click sound can be heard.)
HINT:
When connected, the slider will slide. Be sure not to
touch the slider while connecting, as it may result in
an insecure fit.

8. DISCONNECTION OF CONNECTOR FOR FRONT SEAT SIDE AIRBAG ASSEMBLY
- Place a finger on the slider, slide the slider to
release the lock, and then disconnect the connector.

9. CONNECTION OF CONNECTOR FOR FRONT SEAT SIDE AIRBAG ASSEMBLY
- Connect the connector as shown in the illustration.
(When locking, make sure that the slider returns to
its original position and a click sound can be heard.)
HINT:
When connecting, the slider will side. Be sure not to
touch the slider while connecting, as it may result in
an insecure fit.

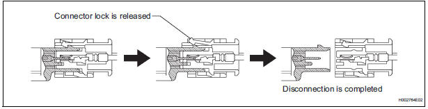
10. DISCONNECTION OF CONNECTORS FOR FRONT AIRBAG SENSOR, SIDE AIRBAG
SENSOR AND REAR AIRBAG SENSOR

- While holding both the sides of the outer connector
locking sleeve, slide the outer in the direction shown
by the arrow.
- When the connector lock is released, the
connectors are disconnected.
HINT:
Be sure to hold both outer flank sides. Holding the
top and bottom will make disconnection difficult.

11. CONNECTION OF CONNECTORS FOR FRONT AIRBAG SENSOR, SIDE AIRBAG SENSOR
AND REAR AIRBAG SENSOR
- Connect the connector as shown in the illustration
(When locking, make sure that the outer returns to
its original position and a click sound can be heard).
HINT:
When connecting, the outer will slide. Be sure not to
hold the outer while connecting, as it may result in
an insecure fit.

Other materials:
If the engine will not
start
If the engine will not start even though correct starting procedures
are being followed (, 228), consider each of the following
points:
The engine will not start even though the starter motor operates
normally.
One of the following may be the cause of the problem:
There may not be sufficien ...
Actuator Supply Voltage Circuit / Open
DESCRIPTION
The ECM monitors the output voltage to the throttle actuator. This self-check
ensures that the ECM is
functioning properly. The output voltage is usually 0 V when the ignition switch
is turned off. If the output
voltage is higher than 7 volts when the ignition switch is turned ...
Throttle Actuator Control Motor Circuit
DESCRIPTION
The throttle actuator is operated by the ECM and opens and closes the
throttle valve using gears.
The opening angle of the throttle valve is detected by the Throttle Position
(TP) sensor, which is mounted
on the throttle body. The TP sensor provides feedback to the ECM. This ...