1. REMOVE STEERING INTERMEDIATE SHAFT ASSEMBLY

(a) Align the matchmarks on the steering intermediate shaft assembly and main shaft.
(b) Remove the bolt and steering intermediate shaft assembly.
2. REMOVE KEY CYLINDER LIGHT ASSEMBLY (w/o Engine Immobiliser System)
3. REMOVE TRANSPONDER KEY AMPLIFIER (w/ Engine Immobiliser System)

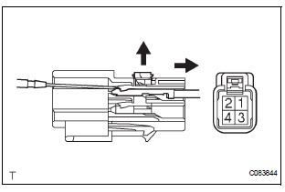
(a) Widen the claw hanging onto the upper bracket by approx. 1.0 mm (0.039 in.) using a screwdriver.
(b) Pull the transponder key amplifier toward the rear of the vehicle with the claw open.
NOTICE: Take care not to use excessive force to prevent the case from being damaged.
4. REMOVE STEERING COLUMN BRACKET ASSEMBLY UPPER

(a) Using a centering punch, mark the center of the 2 tapered-head bolts.
(b) Using a 3 to 4 mm (0.12 to 0.16 in.) drill, drill a hole into the heads of the 2 bolts.
(c) Using a screw extractor, remove the 2 bolts and steering column upper w/ switch bracket assembly.
5. REMOVE IGNITION SWITCH LOCK CYLINDER ASSEMBLY

(a) Place the ignition switch lock cylinder assembly in the ACC position.
(b) Push down the stop pin with a screwdriver, and pull out the cylinder assembly.
6. REMOVE UN-LOCK WARNING SWITCH ASSEMBLY

(a) Disconnect the un-lock warning switch assembly connector from the ignition or starter switch assembly.
(b) Remove the un-lock warning switch assembly by pushing up the center part and releasing the 2 claws.
(c) Disengage the secondary locking device.
(d) Using a screwdriver, disengage the locking lug of terminals 1 and 2, and pull the terminals out from the rear side of the un-lock warning switch assembly.

7. REMOVE KEY INTER LOCK SOLENOID
(a) Remove the 2 screws and solenoid from the steering column bracket assembly.
8. REMOVE IGNITION OR STARTER SWITCH ASSEMBLY
(a) Remove the 2 screws and ignition or starter switch assembly from the steering column bracket assembly UPR.
Removal
ReassemblyDTC check / clear
1. CHECK DTC
Connect the intelligent tester to the Controller Area
Network Vehicle Interface Module (CAN VIM). Then
connect the CAN VIM to the DLC3.
Turn the ignition switch on.
Turn the tester ON.
Enter the following menu items: DIAGNOSIS / OBD/
MOBD / IM ...
Sound Signal Circuit between Radio Receiver and Television Display
Assembly
DESCRIPTION
The television display assembly sends a sound signal to the radio receiver
through this circuit.
The sound signal that has been sent is amplified by the stereo component
amplifier or radio receiver
(built-in amplifier), and then is sent to the speakers.
If there is an open or ...
Setting the vehicle speed
Press the “ON-OFF” button to
activate the cruise control.
Cruise control indicator will come
on*1 or will be displayed on the
multi-information display*2.
Press the button again to deactivate
the cruise control.
Accelerate or decelerate the
vehicle to the desired s ...