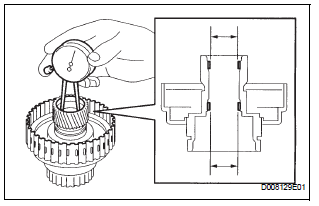
1. INSPECT UNDERDRIVE PACK CLEARANCE

(a) Install the underdrive clutch to the transaxle case.
NOTICE: Be careful not to damage the oil seal rings.
(b) Install a dial indicator as shown in the illustration.
(c) Measure the underdrive clutch pack clearance while applying and releasing compressed air (392 kPa, 4.0 kgf/cm2, 57 psi).
Pack clearance: 1.51 to 1.71 mm (0.0594 to 0.0673 in.)
If the pack clearance is not as specified, inspect the discs, plates and flange.
HINT: There are 5 flanges in different thickness.
Flange thickness: mm (in.)
2. INSPECT UNDERDRIVE CLUTCH DISC NO.1

(a) Check if the sliding surface of the disc, plate and flange are worn or burnt. If necessary, replace them.
HINT:
3. INSPECT UNDERDRIVE CLUTCH DRUM SUBASSEMBLY

(a) Using a dial indicator, measure the inside diameter of the underdrive clutch drum bushing.
Standard drum bushing: 37.06 to 37.08 mm (1.4591 to 1.4598 in.) Maximum drum bushing: 37.13 mm (1.4618 in.)
If the inside diameter is greater than the maximum, replace the underdrive clutch drum.
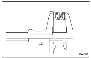
4. INSPECT UNDERDRIVE CLUTCH RETURN SPRING SUB-ASSEMBLY

(a) Using a vernier calipers, measure the free length of the spring together with the spring seat.
Standard free length: 17.14 mm (0.6752 in.)
Disassembly
ReassemblyRegistration Complete Indication Error/ Registration Demand Transmission/
Multiple Frame Incomplete
DTC 01-E0 Registration Complete Indication Error
DTC 01-E3 Registration Demand Transmission
DTC 01-E4 Multiple Frame Incomplete
DESCRIPTION
DTC No.
DTC Detection Condition
Trouble Area
01-E0
"Registration complete" signal from the master device
c ...
Short in Curtain Shield Squib LH Circuit
DTC B1165/87 Short in Curtain Shield Squib LH Circuit
DESCRIPTION
The curtain shield squib LH circuit consists of the center airbag sensor
assembly and the curtain shield
airbag assembly LH.
The circuit instructs the SRS to deploy when deployment conditions are met.
DTC B1165/87 is record ...
For vehicles equipped with catalytic converter
CAUTION: If a large amount of unburned gasoline or gasoline vapors flow
into the converter, it may cause overheating and create a fire hazard. To
prevent this, observe the following precautions:
(a) Use only unleaded gasoline.
(b) Avoid idling the engine for more than 20 minutes.
(c) ...