1. INSTALL FRONT DOOR WIRE LH

Torque: Reference 8.0 N*m (82 kgf*cm, 71 in.*lbf)
NOTICE: In order to prevent water leakage, be sure that the lip of the rubber grommet does not turn up or is not deformed when installing the wire.
2. INSTALL FRONT DOOR CHECK ASSEMBLY LH

Torque: 5.5 N*m (56 kgf*cm, 49 in.*lbf) HINT: Install the door check so that the rivet head is up.
Adhesive: Part No. 08833-00070, THREE BOND 1324 or equivalent
Torque: 26 N*m (265 kgf*cm, 19 ft.*lbf)
3. INSTALL FRONT DOOR OUTSIDE HANDLE FRAME SUB-ASSEMBLY LH

Torque: 4.0 N*m (41 kgf*cm, 35 in.*lbf) NOTICE: Insert a cover between the nut and the door panel.
4. INSTALL FRONT DOOR HANDLE ASSEMBLY OUTSIDE LH

NOTICE: If the release plate is not pulled and held when installing the outside handle, it will strike against with the outside handle and become damaged.
5. INSTALL FRONT DOOR WITH MOTOR LOCK ASSEMBLY LH
NOTICE:

NOTICE: Make sure that the outside handle link is securely engaged with the door lock.

Adhesive: Part No. 08833-00070, THREE BOND 1324 or equivalent
Torque: 5.0 N*m (51 kgf*cm, 42 in.*lbf)
6. INSTALL FRONT DOOR OUTSIDE HANDLE COVER

Torque: 4.0 N*m (41 kgf*cm, 35 in.*lbf)
7. INSTALL FRONT DOOR FRAME SUB-ASSEMBLY REAR LOWER LH

Torque: 8.0 N*m (82 kgf*cm, 71 in.*lbf)
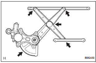
8. INSTALL POWER WINDOW REGULATOR MOTOR ASSEMBLY LH
Torque: 5.4 N*m (55 kgf*cm, 48 in.*lbf)
HINT: Never rotate the motor assembly counterclockwise until the window glass installation is done.
9. INSTALL FRONT DOOR WINDOW REGULATOR SUBASSEMBLY LH

NOTICE: Do not apply grease to the spring of the window regulator.

Torque: 8.0 N*m (82 kgf*cm, 71 in.*lbf)
NOTICE: Be careful not to drop the door window regulator as this may cause deformation.
10. INSTALL FRONT DOOR GLASS SUB-ASSEMBLY LH
NOTICE: Do not damage the door glass.


Torque: 5.5 N*m (56 kgf*cm, 49 in.*lbf)
HINT: When the installation point of the door glass does not match, adjust the regulator position in manual operation.
11. INSTALL OUTER REAR VIEW MIRROR ASSEMBLY LH

Torque: 8.0 N*m (82 kgf*cm, 71 in.*lbf)
12. INSTALL FRONT DOOR SERVICE HOLE COVER LH

HINT:
Adjustment
Slide doorShort to B+ in Front Passenger Side Squib 2nd
Step Circuit
DTC B1188/56 Short to B+ in Front Passenger Side Squib 2nd
Step Circuit
DESCRIPTION
The front passenger side squib 2nd step circuit consists of the center airbag
sensor assembly and the
front passenger airbag assembly.
The circuit instructs the SRS to deploy when deployment conditions are m ...
How to proceed with
troubleshooting
1 VEHICLE BROUGHT TO WORKSHOP
2 CUSTOMER PROBLEM ANALYSIS
3 CHECK AND CLEAR DTCs
Refer to the diagnostic check/clear
4 PROBLEM SYMPTOM CONFIRMATION
5 SYMPTOM SIMULATION
6 CHECK DTC
7 CHECK IF THE SAME SYMPTOM APPEARS IN THE NAVIGATION SYSTEM
Refer to the navigation system
8 PROBLE ...
Approach warning
When your vehicle is too close to a vehicle ahead, and sufficient automatic
deceleration via the cruise control is not possible, the display
will flash and the buzzer will sound to alert the driver. An example of
this would be if another driver cuts in front of you while you are following
a vehi ...