1. REMOVE GENERATOR CLUTCH PULLEY

(A) using a screwdriver, remove the generator pulley cap.

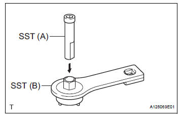
(b) Set SST (A) and (B).
SST 09820-63020

(c) Clamp SST (A) in a vise.
| NOTICE: Be sure to fix the flat surface of SST (A) in a vise. |

(d) Place the rotor shaft end into SST (A).

(e) Fit SST (B) to the clutch pulley.

(f) Loosen the pulley by turning SST (B) in the direction shown in the illustration.
| NOTICE: Hold the generator assembly tightly. |
(g) Remove the generator assembly from SST.
(h) Remove the clutch pulley from the rotor shaft.
2. REMOVE GENERATOR REAR END COVER

(a) Place the generator assembly on the clutch pulley.

(b) Remove the 3 nuts and generator rear end cover.
3. REMOVE GENERATOR TERMINAL INSULATOR

(a) Remove the terminal insulator from the generator coil.
4. REMOVE GENERATOR BRUSH HOLDER ASSEMBLY

(a) Remove the 2 screws and brush holder from the generator coil.
5. REMOVE GENERATOR COIL ASSEMBLY

(a) Remove the 4 bolts.

(b) Using SST, remove the generator coil assembly.
SST 09950-40011 (09951-04020, 09952-04010, 09953-04020, 09954-04010, 09955-04071, 09957-04010, 09958-04011)
6. REMOVE GENERATOR ROTOR ASSEMBLY

(a) Remove the generator washer.

(b) Remove the generator rotor assembly.
Removal
InspectionOpen in Curtain Shield Squib LH Circuit
DTC B1166/88 Open in Curtain Shield Squib LH Circuit
DESCRIPTION
The curtain shield squib LH circuit consists of the center airbag sensor
assembly and the curtain shield
airbag assembly LH.
The circuit instructs the SRS to deploy when deployment conditions are met.
DTC B1166/88 is recorde ...
Sound Signal Circuit between Radio Receiver and Stereo Jack Adapter
DESCRIPTION
The stereo jack adapter sends an external device sound signal to the radio
receiver through this circuit.
The sound signal that has been sent is amplified by the stereo component
amplifier or radio receiver, and
then is sent to the speakers.
If there is an open or short in th ...
Services
Subscribers have the following Safety Connect services available:
Automatic Collision Notification*
Helps drivers receive necessary response from emergency service providers.
*: U.S. Patent No. 7,508,298 B2
Stolen Vehicle Location
Helps drivers in the event of vehicle theft.
Emergenc ...