
DESCRIPTION

When the engine misfires, high concentrations of hydrocarbons (HC) enter the exhaust gas. High HC concentration levels can cause increase in exhaust emission levels. Extremely high concentrations of HC can also cause increases in the Three-Way Catalytic Converter (TWC) temperature, which may cause damage to the TWC. To prevent this increase in emissions and to limit the possibility of thermal damage, the ECM monitors the misfire rate. When the temperature of the TWC reaches the point of thermal degradation, the ECM blinks the MIL. To monitor misfires, the ECM uses both the VVT sensor and the Crankshaft Position (CKP) sensor. The VVT sensor is used to identify any misfiring cylinders and the CKP sensor is used to measure variations in the crankshaft rotation speed. Misfires are counted when the crankshaft rotation speed variations exceed predetermined thresholds. If the misfire count exceeds the threshold levels, the ECM illuminates the MIL and sets a DTC.

When multiple DTCs for misfiring cylinders are set, but DTC P0300 is not set, it indicates that misfires have been detected in different cylinders at different times. DTC P0300 is only set when several misfiring cylinders are detected at the same time.
MONITOR DESCRIPTION
The ECM illuminates the MIL and sets a DTC when either one of the following conditions, which could cause emission deterioration, is detected (2 trip detection logic).
The ECM flashes the MIL and sets a DTC when either one of the following conditions, which could cause the Three-Way Catalytic Converter (TWC) damage, is detected (2 trip detection logic).
HINT:
If a catalyst damage misfire occurs, the ECM informs the driver by flashing the MIL.
MONITOR STRATEGY

TYPICAL ENABLING CONDITIONS


TYPICAL MALFUNCTION THRESHOLDS

MONITOR RESULT
Refer to CHECKING MONITOR STATUS (See page ES-19).
WIRING DIAGRAM
Refer to DTC P0351 for wiring diagram of the ignition system (See page ES-238).

CONFIRMATION DRIVING PATTERN
1. Connect the intelligent tester to the DLC3.
2. Turn the ignition switch to the ON position.
3. Turn the tester on.
4. Record the DTC(s) and freeze frame data.
5. Using the tester, switch the ECM from normal mode to check mode (See page ES-43).
6. Read the misfire counts of each cylinder (CYL #1 to #6) with the engine in an idling condition. If any misfire count is displayed, skip the following confirmation driving pattern.
7. Drive the vehicle several times with the conditions, such as engine rpm and engine load, shown in MISFIRE RPM and MISFIRE LOAD in the Data List.
HINT:

8. Check whether misfires have occurred by checking DTCs and freeze frame data.
HINT:
Do not turn the ignition switch off until the stored DTC(s) and freeze frame data have been recorded.
When the ECM returns to normal mode (default), the stored DTC(s), freeze frame data and other data will be erased.
9. Record the DTC(s), freeze frame data and misfire counts.
10.Turn the ignition switch OFF and wait for at least 5 seconds.
INSPECTION PROCEDURE
HINT:
(a)There was insufficient fuel volume in the tank.
(b)Improper fuel is used.
(c)The spark plugs have been contaminated.
In the event of DTC P0300 being present, perform the following operations:
(a)Clear the DTC (See page ES-39).
(b)Start the engine and conduct the confirmation driving pattern.
(c)Read the misfiring rates of each cylinder or DTC(s) using the tester.
(d)Repair the cylinder(s) that has a high misfiring rate or is indicated by the DTC.
(e)After finishing repairs, conduct the confirmation driving pattern again, in order to verify that DTC P0300 is not set.
1 CHECK ANY OTHER DTCS OUTPUT (IN ADDITION TO MISFIRE CODES)
(a) Connect the intelligent tester to the DLC3.
(b) Turn the ignition switch to the ON position.
(c) Turn the tester on.
(d) Select the following menu items: DIAGNOSIS / ENHANCED OBD II / DTC INFO / CURRENT CODES.
(e) Read the DTCs.
Result 
HINT:
If any DTCs other than P0300, P0301, P0302, P0303, P0304, P0305 and P0306 are output, troubleshoot those DTCs first.
HINT:
If any DTCs other than P0300, P0301, P0302, P0303, P0304, P0305 and P0306 are output, troubleshoot those DTCs first.

2 READ VALUE OF INTELLIGENT TESTER (MISFIRE RPM AND MISFIRE LOAD)
(a) Connect the intelligent tester to the DLC3.
(b) Turn the ignition switch to the ON position and turn the tester on.
(c) Select the following menu items: DIAGNOSIS / ENHANCED OBD II / DATA LIST / MISFIRE / MISFIRE RPM and MISFIRE LOAD.
(d) Read and note the MISFIRE RPM and MISFIRE LOAD values.
HINT:
The MISFIRE RPM and MISFIRE LOAD values indicate the vehicle conditions under which the misfire occurred.

3 CHECK PCV HOSE CONNECTIONS
OK: PCV hose is correctly connected and is not damaged.

4 READ VALUE OF INTELLIGENT TESTER
(a) Connect the intelligent tester to the DLC3.
(b) Turn the ignition switch to the ON position and turn the tester on.
(c) Select the following menu items: DIAGNOSIS / ENHANCED OBD II / DATA LIST / CAT OT MF F/C.
(d) Read the value displayed on the tester.
Result 

5 PERFORM ACTIVE TEST BY INTELLIGENT TESTER
(a) Connect the intelligent tester to the DLC3.
(b) Turn the ignition switch to the ON position and turn the tester on.
(c) Select the following menu items: DIAGNOSIS / ENHANCED OBD II / ACTIVE TEST / PRHBH CAT OT F/C.
(d) Perform the Active Test.
| NOTICE: When performing the Active Test, make sure the vehicle is stopped and either idling or being revved within 3000 rpm. |
6 READ VALUE OF INTELLIGENT TESTER
(a) Enter the following menus:
(b) Read each value for CYL #1 to #6 displayed on the tester.
If no misfire counts occur in any cylinders, perform the following procedures:
(1) Start the engine and let it idle.
(2) Move the shift lever to the D position.
(3) Check the CYL #1 to #6.
(4) If misfire counts are still not displayed, perform steps (c) and (d).
(c) Drive the vehicle with the MISFIRE RPM and MISFIRE LOAD noted in the "READ VALUE USING INTELLIGENT TESTER (MISFIRE RPM and MISFIRE LOAD )" procedures above.
(d) Read the CYL #1 to #6 or DTCs displayed on the tester.
Result 
HINT:

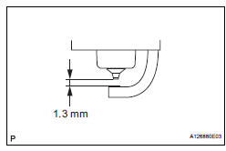
7 CHECK SPARK PLUG

(a) Remove the ignition coil and the spark plug of the misfiring cylinder.
(b) Measure the spark plug electrode gap.
Maximum gap: 1.3 mm (0.0512 in.) (c) Check the electrode for carbon deposits.
Recommended spark plug: 
| NOTICE: If the electrode gap is larger than standard, replace the spark plug. Do not adjust the electrode gap. |


8 CHECK FOR SPARKS AND IGNITION
(a) Disconnect the injector connectors to prevent the engine from starting.
| CAUTION: Always disconnect all injector connectors. |
| NOTICE: Do not crank the engine for more than 2 seconds. |
(b) Remove the ignition coil from the cylinder head.
(c) Install the spark plug onto the ignition coil.
(d) Attach the spark plug assembly to the cylinder head.
(e) Crank the engine for less than 2 seconds and check the spark.
OK: Sparks jump across electrode gap.
(f) Install the ignition coil.
(g) Reconnect the injector connectors.

9 CHECK CYLINDER COMPRESSION PRESSURE OF MISFIRING CYLINDER
(a) Measure the cylinder compression pressure of the misfiring cylinder (See page EM-3).

10 CHECK HARNESS AND CONNECTOR (ECM - INJECTOR)

(a) Disconnect the injector connector (of the misfiring cylinder).
(b) Disconnect the E11 ECM connector.
(c) Turn the ignition switch to the ON position.
(d) Measure the voltage and resistance according to the value(s) in the table below.
(e) Measure the resistance and voltage according to the values in the table below.
Standard: 


11 INSPECT ECM TERMINAL OF MISFIRING CYLINDER (#10, #20, #30, #40, #50 AND /OR #60 VOLTAGE)

(a) Turn the ignition switch to the ON position.
(b) Measure the voltage according to the value(s) in the table below.
Standard voltage 


12 CHECK FUEL INJECTOR OF MISFIRING CYLINDER
(a) Check the injector injection (whether fuel volume is high or low, and whether injection pattern is poor) (See page FU-16).

13 CHECK INTAKE SYSTEM
(a) Check the intake system for vacuum leakage (See page IT-1).
OK: No leakage from intake system.

14 CHECK VALVE TIMING (CHECK FOR LOOSE AND JUMPED TEETH ON TIMING CHAIN) (See page ES-92)

15 CHECK FUEL PRESSURE
(a) Check the fuel pressure (See page FU-7).

16 READ VALUE OF INTELLIGENT TESTER (COOLANT TEMP)
(a) Connect the intelligent tester to the DLC3.
(b) Turn the ignition switch to the ON position.
(c) Turn the tester on.
(d) Select the following menu items: DIAGNOSIS / ENHANCED OBD II / DATA LIST / PRIMARY / COOLANT TEMP.
(e) Read the COOLANT TEMP twice, when the engine is both cold and warmed up.
Standard: With cold engine: Same as ambient air temperature.
With warm engine: Between 75°C and 95°C (167°F and 203°F).

17 READ VALUE OF INTELLIGENT TESTER (MASS AIR FLOW METER)
(a) Connect the intelligent tester to the DLC3.
(b) Turn the ignition switch to the ON position.
(c) Turn the tester on.
(d) Select the following menu items: DIAGNOSIS / ENHANCED OBD II / DATA LIST / PRIMARY / MAF and COOLANT TEMP.
(e) Allow the engine to idle until the COOLANT TEMP reaches 75°C (167°F) or more.
(f) Read the MAF with the engine in an idling condition and at an engine speed of 2500 rpm.
Standard: MAF while engine is idling: Between 1.8 g/s and 4.7 g/s (shift position: N, A/ C: OFF).
MAF at engine speed of 2500 rpm: Between 7.4 g/s and 18.9 g/s (shift position: N, A/ C: OFF).

REPLACE ECM
18 CHECK INTAKE SYSTEM
(a) Check the intake system for vacuum leakage (See page IT-1).
OK: No leakage from intake system.

19 CHECK VALVE TIMING (CHECK FOR LOOSE AND JUMPED TEETH ON TIMING CHAIN) (See page ES-92)

20 CHECK FUEL PRESSURE
(a) Check the fuel pressure (See page FU-7).

21 READ VALUE OF INTELLIGENT TESTER (COOLANT TEMP)
(a) Connect the intelligent tester to the DLC3.
(b) Turn the ignition switch to the ON position.
(c) Turn the tester on.
(d) Select the following menu items: DIAGNOSIS / ENHANCED OBD II / DATA LIST / PRIMARY / COOLANT TEMP.
(e) Read the COOLANT TEMP twice, when the engine is both cold and warmed up.
Standard: With cold engine: Same as ambient air temperature.
With warm engine: Between 75°C and 95°C (167°F and 203°F).

22 READ VALUE OF INTELLIGENT TESTER (MASS AIR FLOW METER)
(a) Connect the intelligent tester to the DLC3.
(b) Turn the ignition switch to the ON position.
(c) Turn the tester on.
(d) Select the following menu items: DIAGNOSIS / ENHANCED OBD II / DATA LIST / PRIMARY / MAF and COOLANT TEMP.
(e) Allow the engine to idle until the COOLANT TEMP reaches 75°C (167°F) or more.
(f) Read the MAF with the engine in an idling condition and at an engine speed of 2500 rpm.
Standard: MAF while engine is idling: Between 1.8 g/s and 4.7 g/s (shift position: N, A/ C: OFF).
MAF at engine speed of 2500 rpm: Between 7.4 g/s and 18.9 g/s (shift position: N, A/ C: OFF).

23 CHECK SPARK PLUG

(a) Remove the ignition coil and the spark plug of the misfiring cylinder.
(b) Measure the spark plug electrode gap.
Maximum gap: 1.3 mm (0.0512 in.) (c) Check the electrode for carbon deposits.
Recommended spark plug: 
| NOTICE: If the electrode gap is larger than standard, replace the spark plug. Do not adjust the electrode gap. |

24 CHECK FOR SPARKS AND IGNITION (SPARK TEST)

(a) Disconnect the injector connectors to prevent the engine from starting.
| CAUTION: Always disconnect all injector connectors. |
| NOTICE: Do not crank the engine for more than 2 seconds. |
(b) Remove the ignition coil from the cylinder head.
(c) Install the spark plug onto the ignition coil.
(d) Attach the spark plug assembly to the cylinder head.
(e) Crank the engine for less than 2 seconds and check the spark.
OK: Sparks jump across electrode gap.
(f) Install the ignition coil.
(g) Reconnect the injector connectors.

25 CHECK CYLINDER COMPRESSION PRESSURE OF MISFIRING CYLINDER
(a) Measure the cylinder compression pressure of the misfiring cylinder (See page EM-3).

26 CHECK HARNESS AND CONNECTOR (ECM - INJECTOR)

(a) Disconnect the injector connector (of the misfiring cylinder).
(b) Disconnect the E11 ECM connector.
(c) Turn the ignition switch to the ON position.
(d) Measure the voltage and resistance according to the value(s) in the table below.
(e) Measure the resistance and voltage according to the values in the table below.
Standard: 

27 INSPECT ECM TERMINAL OF MISFIRING CYLINDER (#10, #20, #30, #40, #50 AND /OR #60 VOLTAGE)

(a) Turn the ignition switch to the ON position.
(b) Measure the voltage according to the value(s) in the table below.
Standard voltage

28 CHECK FUEL INJECTOR OF MISFIRING CYLINDER
(a) Check the injector injection (whether fuel volume is high or low, and whether injection pattern is poor) (See page FU-16).

REPLACE ECM
29 CHANGE TO NORMAL SPARK PLUG AND CHECK SPARK OF MISFIRING CYLINDER
(a) Change the installed spark plug to a spark plug that functions normally.
(b) Perform a spark test.
| CAUTION: Always disconnect all injector connectors. |
| NOTICE: Do not crank the engine for more than 2 seconds. |
(1) Install the spark plug to the ignition coil and connect the ignition coil connector.
(2) Disconnect the injector connector.
(3) Ground the spark plug.
(4) Check if sparks occur while the engine is being cranked.
OK: Sparks jump across electrode gap.

REPLACE SPARK PLUG (See page IG-10)
30 CHANGE TO NORMAL IGNITION COIL AND CHECK SPARK OF MISFIRING CYLINDER

REPLACE IGNITION COIL
Fuel Pump Primary Circuit
Knock Sensor 1 Circuit Low InputKnock Sensor Circuit Low Input/ Knock Sensor Circuit High Input
DTC P0327 Knock Sensor 1 Circuit Low Input (Bank 1 or
Single Sensor)
DTC P0328 Knock Sensor 1 Circuit High Input (Bank 1 or
Single Sensor)
DTC P0332 Knock Sensor 2 Circuit Low Input (Bank 2)
DTC P0333 Knock Sensor 2 Circuit High Input (Bank 2)
DESCRIPTION
A flat type knock sensor (non-resona ...
CD Changer Mechanical Error/ CD Insertion and Ejection Error/ CD Reading
Abnormal
DTC 63-10 CD Changer Mechanical Error
DTC 63-11 CD Insertion and Ejection Error
DTC 63-12 CD Reading Abnormal
DESCRIPTION
DTC No.
DTC Detection Condition
Trouble Area
63-10
A mechanical error in the CD changer is detected while
the CD is not being inserted ...
Removal
1. REMOVE REAR WHEEL
2. REMOVE SKID CONTROL SENSOR WIRE (for 2WD)
(a) Disconnect the skid control sensor connector.
(b) Remove the bolt and disconnect the bracket from
the rear axle beam assembly.
HINT:
Separate the RH side by the same procedures as
the LH side.
3. SEPARATE SPEED SENSO ...